نمایش ها:0 نویسنده:ویرایشگر سایت زمان انتشار: 2026-02-28 اصل و نسب:سایت
عملکرد قالب سیلندر ماشین کاغذ
قالب سیلندر جزء اصلی است که روی آن تار کاغذ در دستگاه کاغذ سیلندر تشکیل می شود. لازم است که آب را به طور یکنواخت فیلتر کند و در حین چرخش، هم زدن بیش از حد در مخزن مش ایجاد نشود. قالب سیلندر باید استحکام کافی و ابعاد هندسی دقیق داشته باشد و به صورت افقی نصب شود.
قالب سیلندر بر اساس ساختار خود به: قالب معمولی، نوع تراشه، مکنده و قالب سیلندر خلاء تقسیم می شود. تقسیم بر اساس مواد: معمولی، تمام مس، قالب سیلندر فولاد ضد زنگ.
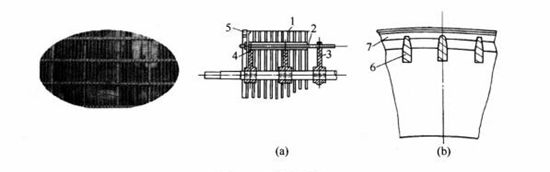
تصویر زیر یک نمودار شماتیک از ساختار قالب استوانه ای معمولی است.

یک دستگاه دنده پشتیبانی برنجی به نام پره بر روی شفت چدن نصب شده است که فاصله آن بین 100-150 میلی متر است. پره ها از لبه چرخ مرکزی پشتیبانی می کنند و توسط شیارهایی احاطه شده اند. شیارها مجهز به میله های افقی با طول قالب سیلندر هستند. قطر میله افقی حدود 1 سانتی متر است، با فاصله مرکز تا مرکز حدود 4 سانتی متر، موازی با محور مرکزی. میله افقی از فولاد یا برنج ساخته شده است و سطح مقطع آن می تواند دایره ای یا مستطیلی باشد. بیرونی ترین دو چرخ با حلقه های بیرون زده ریخته می شوند تا با قسمت های مربوط به شیار مشبک مهر و موم تشکیل دهند و داخل و خارج قالب سیلندر را جدا کنند. شیارهای دندانه دار کوچک بر روی میله افقی طبق یک خط مارپیچی، سیم پیچی ممتد فلزی به قطر حدود 3 میلی متر به شکل مارپیچی در اطراف قالب استوانه ای می پیچد تا یک قاب استوانه ای مشبک شکل استوانه ای شکل بگیرد. فاصله بین سیم های فلزی مجاور حدود 1 سانتی متر است. در نهایت روی سیم مسی را با یک لایه ضخیم تری از مش برنجی یا فولادی ضد زنگ بپوشانید و سپس آن را با توری نازک تری که برای کاغذ سازی استفاده می شود بپوشانید. مش داخلی و توری سطحی هر دو شبکه انتهایی هستند که با ابزار مخصوص روی قاب قالب سیلندر محکم می شوند و با جوش نقره یا جوش برقی به هم متصل می شوند. مجموعه نهایی باید با محور مرکزی بسیار گرد و متحدالمرکز باشد و دارای استحکام کافی برای تحمل فشار غلتک ها بدون تغییر شکل باشد. محدوده قطر قالب سیلندر استاندارد حدود 1-1.5 متر است و مشخصات معمول استفاده شده 1.2 متر است.
دستگاه یاتاقان قالب سیلندر در خارج از شیار مش قرار دارد. دو سر قالب سیلندر به جعبه کناری شکاف مشبک متصل می شود. پس از اتصال خمیر به شبکه، آب سفید فیلتر شده به داخل قالب سیلندر از طریق مش مسی از دو سر قالب سیلندر وارد جعبه جانبی می شود و سپس توسط یک پمپ آب سفید برای بازیافت پمپ می شود.

مش داخلی قالب سیلندر به طور کلی 8-16 مش است که عمدتاً برای پراکنده کردن فشار غلطک ها و صاف نگه داشتن مش سطح استفاده می شود. مش نسبتاً متراکم است و برای فیلتر کردن الیاف برای تشکیل یک شبکه کاغذی استفاده می شود که معمولاً بین 40 تا 100 مش است. انتخاب اندازه مش عمدتاً به تنوع کاغذ تولید شده بستگی دارد و متداول ترین اندازه مش برای تولید کاغذهای فرهنگی عمومی 65 مش است.
شکل زیر شکل ساختاری قالب سیلندر نوع تراشه را نشان می دهد. قالب سیلندر نوع تراشه ای به تغییر دیسک بیرونی یک قالب استوانه ای معمولی از سیم مسی به قطر 3 میلی متر به صفحه فولادی ضد زنگ با مقطع مستطیل اطلاق می شود. ویژگی های اصلی آن عبارتند از: افزایش منطقه و سرعت فیلتراسیون و بهبود تولید. بهبود کیفیت کاغذ، از جمله یکنواختی، وزن، نسبت ابعاد، و کاهش هزینه های مصرف و نگهداری مش مسی، نمد و سایر مواد؛ یکپارچگی کلی و عملکرد ضد خوردگی تجهیزات را با استحکام بالا، استحکام خوب و دوام تقویت کنید. سه نوع قالب سیلندر وجود دارد که ساخته و تولید شده است: تراشه عبوری، تراشه سیم پیچ و تراشه شیبدار.
![]() | ![]() |